Hodnocení lomových ploch z rázových zkoušek prováděných metodou Charpy

Rázové zkoušky jsou materiálové zkoušky, které se provádějí za účelem stanovení houževnatosti a křehkosti materiálů při jejich vystavení rázu. Rázové zkoušky zahrnují rázovou zkoušku na kyvadlovém kladivu prováděnou metodou Charpy, rázovou zkoušku pevnosti prováděnou metodou Izod, rázovou zkoušku v tahu, rázovou zkoušku úderem kuličky (závaží), rázovou zkoušku prováděnou metodou Dupont a rázovou zkoušku padající šipkou. Zkoušky, které se používají v průmyslu, jsou rázová zkouška prováděná metodou Charpy a rázová zkouška pevnosti prováděná metodou Izod.
Rázová zkouška prováděná metodou Charpy je obzvláště důležitá pro materiály používané v dílech, které jsou vystaveny silným rázům nebo vysokému tlaku, jako jsou například materiály používané v energetických jednotkách a potrubích jaderných elektráren.
Na této stránce jsou vysvětleny základní poznatky o rázové zkoušce prováděné metodou Charpy, zkušebních tělesech a o tom, jak výsledky zkoušky vyhodnotit. Uvádí také problémy při vyhodnocování výsledků zkoušek a při běžných metodách měření, jakož i řešení těchto problémů.
- Rázová zkouška prováděná metodou Charpy
- Vyhodnocení rázové zkoušky prováděné metodou Charpy
- Zkušební tělesa použitá při rázové zkoušce prováděné metodou Charpy
- Problémy při konvenčním měření lomových ploch
- Řešení pro měření lomových povrchů
- Shrnutí: Kvantitativní měření lomových ploch
Rázová zkouška prováděná metodou Charpy
Při rázové zkoušce prováděné metodou Charpy se na zkušební těleso působí rázovým zatížením pomocí kyvadlového kladiva, aby došlo k jeho rozlomení. Hodnota rázu je odvozena z energie v okamžiku, kdy došlo k prasknutí zkušebního kusu, a používá se k vyhodnocení houževnatosti a křehkosti materiálu zkušebního kusu.
Pokud se kladivo po rozlomení zkušebního kusu vychýlí do velkého úhlu, znamená to, že zkušební kus nedokázal náraz absorbovat. Pokud se kladivo vychýlí do malého úhlu, znamená to, že zkušební těleso absorbovalo větší část nárazu.
Materiál zkušebního kusu, který absorboval větší náraz, lze vyhodnotit jako lepší z hlediska rázové pevnosti. Pokud je předepsán úhel výkyvu kladiva, pak pokud je naměřený úhel výkyvu kladiva vyšší než předepsaný úhel, materiál při zkoušce nevyhoví.
Vyhodnocení rázové zkoušky prováděné metodou Charpy
Při rázové zkoušce prováděné metodou Charpy se měří úhel, do kterého se kladivo zpočátku zvedne, a úhel setrvačného výkyvu kladiva po rozlomení zkušebního tělesa. Vyhodnocuje se také lomová plocha zkušebního tělesa, protože obsahuje informace o tom, jak se zkušební těleso lámalo.
Vyhodnocení absorbované energie při rázové zkoušce prováděné metodou Charpy
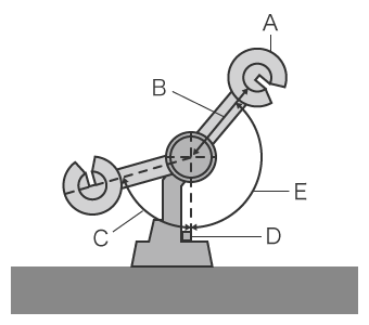
Rázová zkouška prováděná metodou Charpy se používá ke zjištění množství absorbované energie, tedy množství energie, která byla vynaložena na rozlomení zkušebního kusu. Tuto energii lze vypočítat z úhlu, pod kterým bylo kladivo původně zvednuto, a z úhlu, pod kterým se kladivo po rozlomení zkušebního kusu vychýlí na opačnou stranu. Následuje schéma zkušebního stroje pro rázovou zkoušku prováděnou metodou Charpy a vzorce používané k výpočtu absorbované energie a pevnosti při rázové zkoušce prováděné metodou Charpy.

- A
- Kladivo
- B
- Vzdálenost od středu otáčení kladiva k těžišti kladiva (R)
- C
- Úhel, do kterého se kladivo vychýlí po rozlomení zkušebního tělesa (θβ)
- D
- Zkušební kus (b: šířka, h: tloušťka)
- E
- Úhel, pod kterým se kladivo zvedá (θα)
<Vzorec>
E = WR (cosθβ − cosθα) − L
a = E/bh
- E
- Absorbovaná energie (J)
- a
- Hodnota rázu podle metody Charpy (kg-cm/cm2)
- W
- Hmotnost kladiva (N)
- R
- Vzdálenost od středu osy otáčení kladiva k těžišti kladiva (m)
- θβ
- Úhel, do kterého se kladivo vychýlí po rozlomení zkušebního kusu (°)
- θα
- Úhel, pod kterým se kladivo zvedá (°)
- b
- Šířka zkušebního kusu (cm)
- h
- Tloušťka zkušebního kusu (cm)
- L
- Ztráta energie způsobená třením
Zkušební tělesa použitá při rázové zkoušce prováděné metodou Charpy
Při rázové prováděné metodou Charpy zkoušce se používají následující zkušební tělesa. Zkušební kus je vystřižen ze stejného materiálu, který je skutečně použit v produktu.
| Zkušební metoda | Zkušební kus |
|---|---|
| Metoda pro rázovou zkoušku kovových materiálů prováděnou metodou Charpy | Zkušební kus pro rázovou zkoušku prováděnou metodou Charpy (V-zářez, U-zářez) |
| Metoda pro rázovou zkoušku plastů vyztužených uhlíkovými vlákny prováděnou metodou Charpy | Zkušební těleso pro plošný náraz Zkušební těleso pro hranový náraz |
| Metoda pro rázovou zkoušku plastů vyztužených skleněnými vlákny prováděnou metodou Charpy | Zkušební kus pro rázovou zkoušku prováděnou metodou Charpy |
| Plasty – stanovení rázových vlastností podle metody Charpy | Zkušební kus pro rázovou zkoušku prováděnou metodou Charpy |
Každý zkušební kus je opatřen zářezem, který je vytvořen za účelem koncentrace napětí. Existují dva typy zářezů: V-zářez a U-zářez. Zkušební kusy používané pro náraz hranou se liší od zkušebních kusů používaných pro náraz plochou. Hranový náraz se aplikuje na úzkou plochu zkušebního kusu, zatímco plochý náraz se aplikuje na velkou plochu zkušebního kusu. Na následujících obrázcích je znázorněn zkušební kus a směr nárazu, když je zkušební kus vystaven nárazu hranou.

- A
- Zářez
- B
- Směr nárazu (metoda nárazu hranou)
Hodnocení lomové plochy při rázové zkoušce prováděné metodou Charpy
Lomová plocha zkušebního kusu, která byla porušena při rázové zkoušce prováděné metodou Charpy, vykazuje různé lomové charakteristiky v závislosti na teplotě. Změna vzhledu lomového povrchu v důsledku změny teploty se označuje jako přechod od tvárnosti ke křehkosti. Lomové povrchy se klasifikují jako křehké nebo tvárné lomové povrchy. Křehké lomové plochy jsou lesklé a stříbřitě bílé. Tvárné lomové plochy jsou tmavě šedé a vyznačují se velkou deformací a nepravidelnostmi povrchu. Procento křehké lomové plochy z celé lomové plochy se nazývá procento křehkého lomu. Naopak procento vypočtené odečtením procenta křehkého lomu od 100 % lomové plochy se nazývá procento tvárného lomu.
Například při zkoušce materiálu při nízké teplotě se zkušební kus téměř vždy zlomí, přičemž si většinou zachová svůj původní tvar čtvercového průřezu. Lomová plocha vykazuje křehký lom, což naznačuje, že množství absorbované energie je malé. Při zkoušce stejného materiálu při vysoké teplotě se vytvoří tvárná lomová plocha a procento křehkého lomu je nižší. Zvyšuje se také množství absorbované energie.
Jak bylo popsáno výše, vztah mezi teplotou a absorbovanou energií a změnu houževnatosti lze pozorovat na plochách a drsnosti lomových ploch při rázové zkoušce prováděné metodou Charpy. Tato zkouška je proto velmi důležitá pro kvantitativní hodnocení těchto faktorů.
Rozdíly mezi rázovou zkouškou prováděnou metodou Charpy a zkouškou rázové pevnosti prováděnou metodou Izod
Kromě rázové zkoušky prováděné metodou Charpy se v průmyslu běžně používá také rázová zkouška prováděná metodou Izod. Tato rázová zkouška se často používá pro plasty a její jednotky jsou J/m. Při těchto dvou metodách se zkušební kusy upevňují různými způsoby. Při rázové zkoušce prováděné metodou Charpy je zkušební kus upevněn na obou koncích a ráz je veden do středu zkušebního kusu. Při rázové zkoušce rázové prováděné metodou Izod je zkušební kus upevněn na jednom konci a na druhý konec je aplikován ráz. Stejně jako při rázové zkoušce prováděné metodou Charpy se úder provádí kladivem. Z absorbované energie se vypočítá rázová síla, která zkušební kus rozlomila. Stejně jako u rázové zkoušky prováděné metodou Charpy se absorbovaná energie měří měřením úhlu, do kterého se kladivo zvedne, a úhlu, do kterého se kladivo vyklopí v důsledku setrvačnosti po roztříštění zkušebního kusu. Pevnost v rázu podle metody Izod a absorbovanou energii lze vypočítat podle následujících vzorců.

- A
- Směr dopadu
a = E/b
- a
- Pevnost v rázu (J/m)
- E
- Energie potřebná k rozlomení (absorbovaná energie) (J)
- b
- Šířka zkušebního vzorku na straně se zářezem (m)
Vzorec pro výpočet absorbované energie je následující.
E = WR (cosθβ − cosθα) − L
- E
- Absorbovaná energie (J)
- W
- Hmotnost kladiva (N)
- R
- Vzdálenost od středu osy otáčení kladiva k těžišti kladiva (m)
- θβ
- Úhel, do kterého se kladivo vychýlí po rozlomení zkušebního kusu (°)
- θα
- Úhel, pod kterým se kladivo zvedá (°)
- L
- Ztráta energie způsobená třením
Problémy při konvenčním měření lomových ploch
Běžné měření plochy povrchu se provádí pomocí mikroskopu. To však s sebou nese problémy spojené s dlouhou dobou měření a nemožností kvantifikovat výsledky. Výsledky měření navíc v některých případech nelze uložit ani digitalizovat, což velmi ztěžuje vyhodnocování lomové plochy.
Obtíže při měření − mikroskop

Mikroskopy získávají informace z povrchu. Šířku drážky je možné měřit z velikosti pohybu podložky a hloubku z velikosti změny zaostření. Mikroskopy také umožňují velké zvětšení, které umožňuje detailní pozorování lomové plochy.
Zároveň měření závisí na lidských očích, což vede k odchylkám výsledků měření v závislosti na obsluze. Další obavou je, že vzhledem k tomu, že mikroskopy nejsou původně určeny k měření, nemusí být možné výsledky měření kvantifikovat nebo může být spolehlivost kvantifikovaných hodnot měření nízká.
Řešení pro měření lomových povrchů
Měření pomocí běžných mikroskopů s sebou nese problémy, jako jsou odchylky ve výsledcích měření a nemožnost kvantifikace výsledků měření. Pro řešení těchto problémů s měřením vyvinula společnost KEYENCE optický 3D profilometr řady VR.
Řada VR přesně zachycuje 3D tvar celého povrchu cíle, aniž by došlo ke kontaktu s ním. Měří také 3D tvar pomocí 3D skenování cíle na podložce, a to za pouhou jednu sekundu. Dokáže provádět okamžité a kvantitativní měření bez chyb ve výsledcích měření. V této části jsou představeny některé konkrétní výhody řady VR.
Výhoda 1: Kvantitativní vyhodnocení je možné již za jednu sekundu.
Je možné měřit plochu a objem povrchu lomové plochy kovu a také poměr plochy průřezu k ploše povrchu. Vzhledem k tomu, že rozsáhlou oblast lze změřit jedním měřením již za jednu sekundu, je možné dosáhnout velkého nárůstu počtu měřených vzorků. To je u běžných mikroskopů a měřicích přístrojů obtížné vzhledem k dlouhé době potřebné k měření.

Řada VR dokáže také měřit maximální a minimální body v široké oblasti, což dříve vyžadovalo mnoho času a úsilí. Všechny výsledky měření jsou digitalizovány, což výrazně snižuje nároky na následné porovnávání a analýzu dat.
Výhoda 2: Měřicí systém podporuje sledovatelnost.

Řada VR je bezkontaktní 3D měřicí přístroj, který zajišťuje sledovatelnost podle národních norem. Přesnost měření je zaručena jak pro přesnost, tak pro opakovatelnost, a poskytuje tak vysoce spolehlivé výsledky měření, kterým můžete důvěřovat. Kalibrační certifikáty jsou standardně dodávány s hlavní jednotkou a kalibrační deskou.
Jak bylo popsáno výše, řada VR je měřicí systém, který poskytuje plnou sledovatelnost, což umožňuje jeho použití jako měřicího systému.
Standardně se dodává také kalibrační měřidlo, které obsahuje kontrolní zprávu a kalibrační certifikát. Měřidlo je propojeno s referenční stupnicí používanou certifikačními laboratořemi JCSS. Uživatelé tak mohou snadno provádět kalibraci přímo na místě.
Shrnutí: Kvantitativní měření lomových ploch
Konvenční přístroje umožňují pouze pozorování a kvantifikace výsledků je obtížná, časově náročná a nepřesná. Řada VR umožňuje rychlé měření a poskytuje kvantifikované výsledky. To umožňuje vyhodnocovat lomové plochy při rázové zkoušce podle metody Charpy s vyšší přesností a účinností. Systém lze samozřejmě použít i k hodnocení lomových ploch při zkoušce pevnosti v rázu podle metody Izod.
- Lze kvantifikovat plochu povrchu, objem a drsnost lomové plochy.
- Žádné rozdíly v měření mezi různými operátory.
- Bez nutnosti polohování nebo jiné přípravy lze měření provést pouhým umístěním cíle na podložku a stisknutím tlačítka. Díky tomu není pro měřicí práce nutné přidělovat specializovanou obsluhu.
- 3D tvary lze měřit snadno vysokou rychlostí a s vysokou přesností. To umožňuje měřit velký počet cílů v krátkém čase, což přispívá ke zlepšení kvality.
Tento systém také umožňuje porovnání s daty 3D tvarů z minulosti a snadnou analýzu dat, například rozložení drsnosti. Lze jej efektivně využít pro širokou škálu účelů, včetně analýzy trendů charakteristik lomové plochy v důsledku teplotních změn a kontroly stavu lomu.


