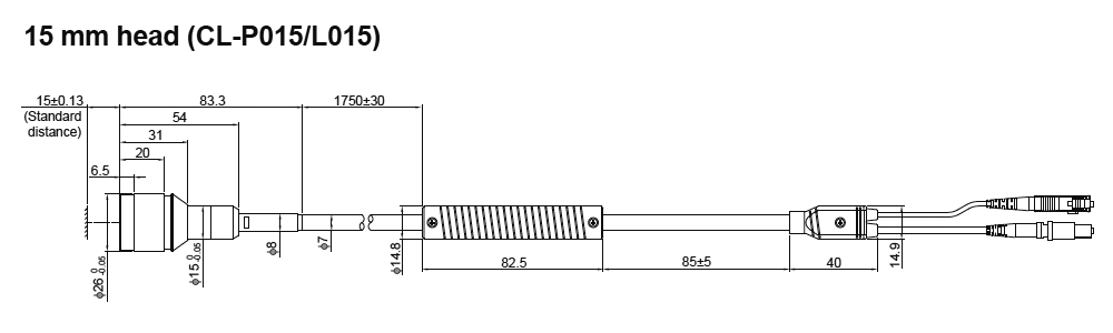
Dimensions

* En cas de difficultés à lire le texte, consultez les données CAO ou le manuel.

CL-P015/L015 Dimension