Projektory analogowe
- Co to jest projektor analogowy (profilowy)?
- Elementy projektora analogowego
- Pomiar za pomocą projektora analogowego
- Wady projektorów analogowych
- Dlaczego warto wybrać KEYENCE?
Co to jest projektor analogowy (projektor profilowy)?
Projektory analogowe to typ przyrządów pomiarowych. Zasada pomiaru jest podobna jak w mikroskopach optycznych. Próbka umieszczana jest na stoliku i od dołu pada na nią światło. Powoduje to rzutowanie na ekran profilu próbki w postaci jej cienia. Precyzję pomiaru zapewnia telecentryczny układ optyczny.
Projektory analogowe służyły pierwotnie do badania konturów próbek. Później pojawiły się modele wyposażone w funkcje pomiaru. W dużych projektorach analogowych ekran może mieć średnicę powyżej 1 m.
Projektory analogowe są też nazywane projektorem profilowym lub cieniografem.
Zalety projektora analogowego
Bezkontaktowy pomiar nie wypacza pomiaru giętkich elementów ani nie powoduje zniszczenia delikatnych.
Możliwe jest mierzenie nawet próbek małych i o skomplikowanej geometrii.
W odróżnieniu od mikroskopów pomiarowych nie trzeba wpatrywać się przez obiektyw okularu, dzięki czemu więcej osób może równocześnie prowadzić obserwacje.
Korzystanie z projektorów analogowych jest rozpowszechnione w kontrolach i pomiarach takich elementów, jak podzespoły elektroniczne i mechanika precyzyjna. Bazowanie układu odniesienia i pozycjonowanie próbki jest tradycyjnie czaso- i pracochłonne.
Zasada działania projektora analogowego (telecentryczny układ optyczny)
Typowy projektor analogowy oświetla mierzony obiekt umieszczony na stoliku od dołu i rzuca jego cień przez obiektyw projekcyjny na ekran projekcyjny. Dlatego jest także nazywany projektorem profilowym lub cieniografem.
Wtedy wielkość rzutowanego obrazu jest obrazem mierzonego obiektu powiększonym o poprawny współczynnik powiększenia i mierząc ten obraz można zmierzyć wymiar mierzonego obiektu.
W projektorze analogowym stosowany jest tak zwany „telecentryczny układ optyczny”, który umożliwia projekcję o precyzyjnie określonym współczynniku powiększenia z dowolnej pozycji na stoliku. W uniwersalnym obiektywie bliskie obiekty wydają się duże, a odległe małe, co pozwala ocenić perspektywę. Natomiast w soczewce telecentrycznej rzut jest tej samej wielkości niezależnie od tego czy obiekty znajdują się blisko czy daleko.
Soczewki telecentryczne umożliwiają rzucanie cienia obiektu z poprawnym powiększeniem bez zniekształcania obrazu.
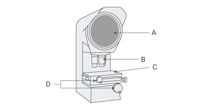
Elementy projektora analogowego

- A
- Ekran projekcyjny
- B
- Obiektyw projekcyjny
- C
- Ruchomy stolik
- D
- Dźwignie przesuwu stolika (uchwyty X i Y)
Akcesoria projektora analogowego
Uchwyty
Uchwyt służą w projektorze analogowym do unieruchomienia mierzonego obiektu w poprawnej orientacji. Na przykład okrągły obiekt może zostać unieruchomiony w poziomie za pomocą zacisku. Za pomocą uchwytu można ustawić obiekt, którego dolna powierzchnia nie jest płaska, w orientacji zdatnej do pomiaru.
Istnieją różne typy uchwytów, w tym klipsy, zaciski i magnesy.
Wykres na poliestrowej nakładce
Wykres na nakładce przystawia się do pomiarowego obrazu rzutowanego na ekran. Istnieją różne typy wykresów. Często są używane na przykład wykresy z podziałką w formie siatki lub koncentryczną.
Ponadto nakładając na rzutowany obraz wykres, na którym wartość projektowa obiektu pomiaru jest powiększona o taki sam współczynnik, można zobaczyć, na ile kontur wartości projektowej różni się od rzeczywistego obiektu pomiaru.
Oświetlenie powierzchni
Projektor analogowy może nie tylko oświetlać obiekt od dołu i przepuszczać światło, ab powstał cień, ale także oświetlać od góry (od strony obiektywu), aby rzucać kontury.
Nawet gdy pomiar danej próbki na podstawie obrazu transmisyjnego (z podświetlenia) sprawia trudności, to można ją zmierzyć przy użyciu oświetlenia typu epi-.
Kurtyna
Kurtyny służą do zatrzymywania światła przychodzącego z zewnątrz. Blokowanie światła otoczenia pozwala na rzutowanie kształtu z większą precyzją.
Środki ostrożności, konserwacja i kalibracja
Konwencjonalne projektory analogowe wymagają regularnej konserwacji, aby były w stanie stale wykonywać pomiary z wysoką precyzją. Konserwacja jest często wykonywana na miejscu przez serwis, ponieważ sprzęt ten jest zazwyczaj zbyt duży, aby regularnie go wysyłać i odbierać.
Ponadto w celu potwierdzenia, że precyzja zgodna jest z założeniami, wymagana jest regularna kalibracja. Cykl kalibracji projektora analogowego wynosi od 6 miesięcy do 3 lat. Podobnie jak konserwacja, kalibracja jest zazwyczaj wykonywana lokalnie.
Sposób użycia (podstawy)
Umieść obiekt na stoliku.
Na obraz rzutowany w powiększeniu na ekran nakładana jest skala służąca do pomiaru wymiarów. Ewentualnie można użyć stolika XY i zmierzyć wymiary na podstawie wielkości przesuwu.
Projektor analogowy ze skomputeryzowaną funkcją obliczania pozwala uzyskać różne wyniki pomiarów, jak szerokość, średnica i kąt, na podstawie punktów pomiarowych zarejestrowanych w trakcie przemieszczania stolika.
Pomiar za pomocą projektora analogowego
Sposób pomiaru długości/szerokości
Umieść mierzony obiekt na ekranie i wyreguluj wysokość stołu, aby uzyskać ostrość.
Następnie wyrównaj orientację boku, który chcesz zmierzyć, na rzutowanym obrazie z orientacją linii odniesienia ekranu i skoryguj wartość stolika XY do 0.
Następnie przesuń stolik za pomocą dźwigni przesuwu stolika i wyrównaj drugi bok rzutowanego obrazu, który ma zostać zmierzony, z linią odniesienia na ekranie.
W tym momencie zostanie wyświetlona wielkość przesuwu stolika w kierunkach X i Y, co oznacza zmierzoną wartość. W przypadku prostego pomiaru tylko w jednym kierunku stosowana jest wielkość przesuwu tylko w kierunku X lub Y.
Sposób pomiaru promienia/średnicy
Umieść mierzony obiekt na ekranie i wyreguluj wysokość stołu, aby uzyskać ostrość.
Następnie wyrównaj środek okręgu na rzutowanym obrazie z punktem, w którym linia odniesienia ekranu jest jawna
W przypadku promienia odnotuj tutaj punkt 0 i przesuń stolik, aby sprawdzić wielkość ruchu w punkcie, w którym krawędź okręgu jest w środku stolika. W przypadku średnicy przesuń stolik stąd do krawędzi okręgu, odnotuj punkt 0 i przesuń do przeciwległej krawędzi, aby sprawdzić wielkość ruchu. W każdym przypadku pomiar wykonuje się zazwyczaj w czterech kierunkach na krzyż.
Pomiar można również wykonać, nakładając na ekran wykres z podziałką koncentryczną.
W przypadku projektora analogowego z funkcją obliczania średnica i promień zostaną obliczone automatycznie po zarejestrowaniu trzech punktów pomiarowych na krawędzi okręgu.
Sposób pomiaru kątów
Kąty można mierzyć na różne sposoby.
Jedna z metod polega na sprawdzaniu wielkości obrotu stolika w kierunku θ przez wyrównanie linii prostej rzutowanego obrazu z linią odniesienia ekranu.
W innej metodzie przykłada się do ekranu wykres z drobną skalą przypominający kątomierz.
W projektorze analogowym z funkcją obliczeń kąt jest obliczany po wyznaczeniu dwóch prostych linii.
Sposób użycia nakładek
Istnieją różne rodzaje wykresów
Do pomiaru średnicy i promienia istnieją koncentryczne wykresy kołowe, do pomiaru kątów wykresy kątowe. Ponadto niektóre skale są ułożone w formie siatki, na której widoczne są wartości współrzędnych XY. Obie kładzie się na ekranie i mierzy, porównując z rzutowanym obrazem.

Wady projektorów analogowych
Chociaż projektor analogowy jest wygodnym przyrządem pomiarowym, który może wykonywać różne pomiary, użytkownik może napotkać pewne trudności.
Stabilność pomiaru
- Pozycja ostrości różni się zależnie od osoby, co może powodować błąd pomiaru.
- Efektywność pracy i mierzone wartości zależą od umiejętności danej osoby.
Czułość
- Porównując kształty, należy nałożyć rysunek w powiększeniu 10x na rzutowany obraz i wizualnie sprawdzić, czy się różnią.
- Nie jest możliwe uzyskanie wartości liczbowych różnic z wymiarów i rysunków za pomocą przyrządu pomiarowego.
- Trudno jest przechowywać i porównywać dane, jak przenoszenie kształtów konturu na kalkę techniczną.
Koszt i nakład pracy
- Ręczne przemieszczanie stolika XY oraz korygowanie pozycji i orientacji mierzonego obiektu, a następnie uzyskiwanie kolejnych współrzędnych punktów pomiarowych w celu wykonania pomiaru jest czasochłonne.
- W przypadku obiektu z uskokiem konieczne jest ostrzenie po każdej zmianie wysokości punktu pomiarowego.
- Pisanie różnych dokumentów i rysowanie konturów kształtów jest procesem ręcznym, który pochłania dużo robocizny.
Dlaczego warto wybrać KEYENCE?
System pomiarów błyskawicznych serii IM KEYENCE został zaprojektowany jako projektor analogowy następnej generacji.
- Łatwość użycia — wystarczy położyć element na stoliku systemu i nacisnąć przycisk, aby przeprowadzić pełną kontrolę elementu.
- Prędkość — system automatycznie mierzy element w ciągu 3 sekund lub mniej.
- Precyzja — precyzyjny układ optyczny i kamery umożliwiają osiągnięcie dokładności na poziomie +/- 2 μm.




