* Download CAD file or product manual for larger image/text and more detail.

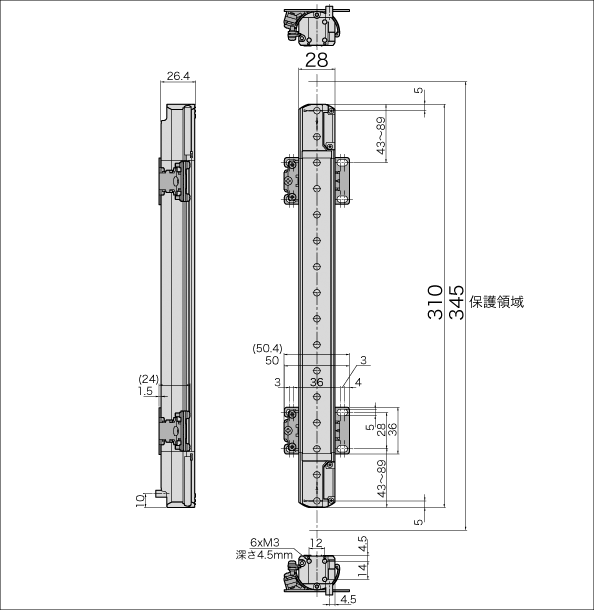
sl_c16h_dimension_01.gif

SL-C16H Dimension