Een meetmethode die problemen bij de coplanariteitsinspectie oplost

Met de vooruitgang op het gebied van de elektronische besturing van voertuigen en met steeds kleinere afmetingen van producten zoals smartphones en draagbare apparaten, zijn er steeds meer eisen voor kleinere afmetingen en een hogere montagedichtheid voor de elektronische componenten die in dergelijke producten worden gebruikt.
Tegelijkertijd zorgen de kleinere afmetingen en steeds dichtere montage van elektronische apparaten ervoor dat zelfs een kleine belasting kan leiden tot een storing als gevolg van het optillen aan de aansluitingen van de montageplaten en op het oppervlak gemonteerde apparaten (SMD). Naast kleinere afmetingen is er een hogere hechtingskwaliteit vereist voor SMD's, connectorpinnen en andere componenten die worden gebruikt in IC-chips en andere halfgeleiderpakketten, met name die in auto's of vliegtuigen, omdat een storing mensenlevens in gevaar kan brengen. Om deze reden is de coplanariteitsinspectie belangrijk.
Deze pagina legt de basiskennis en meetmethoden van coplanariteit uit voor de verbindingen van kabels, pinnen, kogels en andere onderdelen die nauw verband houden met de montagekwaliteit van elektronische apparaten. Er volgt ook een introductie van de problemen met deze meetmethoden en de nieuwste oplossing voor deze problemen.
- Coplanariteit
- Belang van een coplanariteitsmeting en het effect ervan op de kwaliteit
- Meetproblemen
- Oplossingen voor coplanariteitsmetingen
- Samenvatting: Dramatische verbetering en hogere efficiëntie voor coplanariteitsmetingen
Coplanariteit
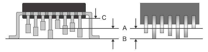
Coplanariteit verwijst naar een eigenschap of toestand waarin er meerdere punten op hetzelfde vlak bestaan. De coplanariteit van elektronische componenten zoals SMD's en connectoren geeft de maximale waarde aan van het verschil tussen het hoogste punt en het laagste punt tussen meerdere contacten. Dergelijke contacten omvatten de contactpinnen van pin-grid-arrays (PGA's), soldeerballen van ball-grid-arrays (BGA's) en connectorpinnen. Coplanariteit kan ook worden uitgedrukt als oppervlakte-uniformiteit of terminalvlakheid.
Wanneer bijvoorbeeld SMD's op een printplaat worden gemonteerd met een volledig vlak PCB-oppervlak als referentielijn, wordt de toegestane coplanariteitswaarde gedefinieerd als de tolerantie voor de maximale opening tussen het plaatoppervlak en de meerdere contactpunten van de pinnen of soldeerballen. Stand-off is een ander element dat gemakkelijk wordt verward met coplanariteit. Stand-off geeft de afstand aan tussen het montageoppervlak van de plaat en het onderoppervlak van een gegoten apparaatpakket.

- A
- Coplanariteit
- B
- Referentielijn
- C
- Stand-off
Belang van een coplanariteitsmeting en het effect ervan op de kwaliteit
Elke opening die het toegestane bereik (tolerantie) bij de contacten met elektronische componenten overschrijdt, kan problemen veroorzaken zoals aansluitfouten van elektronische apparaten die op printplaten zijn gemonteerd, contactfouten van connectoren of verbindingsfouten veroorzaakt door zelfs maar een lichte belasting tijdens het gebruik.
Het meten en inspecteren van de coplanariteit van elektronische componentverbindingen zoals pinnen, soldeerballen en kabels kan de kwaliteit van de onderdelen en de montage garanderen, evenals de betrouwbaarheid in de markt na de verzending.
Belastingen op PCB's en SMD's kunnen problemen veroorzaken, zoals barsten in de verpakking. Belastingen veroorzaken ook het optillen van gesoldeerde verbindingen en kunnen kleine luchtopeningen in kunststofonderdelen veroorzaken, wat leidt tot interne corrosie.
Contactonderdelen zoals pinnen, soldeerballen en kabels worden blootgesteld aan mechanische en thermische belastingen tijdens productieprocessen zoals persen, kunststofbewerking, smeden, snijden en gieten met hars. Om te controleren of de onderdelen zijn vervaardigd in de vorm die op de tekeningen is gespecificeerd, is het berekenen van de tweedimensionale vorm daarom niet voldoende om de coplanariteit te bepalend. Veranderingen in de driedimensionale vorm, zoals hellingen en buigingen, kunnen ook variaties in de helling en coplanariteit veroorzaken, wat resulteert in verbindingsfouten.
Meetproblemen
In dit gedeelte worden de conventionele methoden voor het meten van de coplanariteit en de veelvoorkomende problemen uitgelegd.
Meetproblemen - Voelermaat

Een voelermaat is een hulpmiddel dat wordt gebruikt om de afmetingen van een opening te meten door een dunne metalen plaat in de opening te steken. Dit wordt ook wel een spelingsmeter genoemd. Typische voelermaten kunnen kleine openingen meten van 0,03 mm (0,001") tot 1,00 mm (0,03").
Het meten met voelermaten brengt de volgende problemen met zich mee.
- Deze methode brengt grote variaties in de gemeten waarden met zich mee en als het gereedschap niet voorzichtig wordt gehanteerd, kan het de elektronische componenten beschadigen. De meting en inspectie vergen veel tijd en moeite, waardoor het moeilijk is om alle onderdelen te inspecteren.
- Omdat de meetresultaten niet als gegevens kunnen worden uitgevoerd, moeten bedieners de waarden handmatig invoeren om rapporten te maken en trendanalyses uit te voeren.
Meetproblemen - Microscoop

Meetmicroscopen zijn ontwikkeld voor meetdoeleinden op basis van de bestaande principes van metallurgische en stereoscopische microscopen en kunnen een meetnauwkeurigheid van ongeveer 1 μm vertonen (0,00003"). Met meetmicroscopen kunnen gebruikers ook de mate van verplaatsing van het platform numeriek regelen.
Meten met behulp van microscopen brengt echter de volgende problemen met zich mee.
- Er is geen vrijheid in de meetrichtingen. Om meerdere pennen te meten die in drie dimensies zijn geplaatst, is er een tijdrovend proces nodig om het werkstuk zo te draaien dat het in verschillende richtingen wijst en om het elke keer met een mal op zijn plaats vast te zetten.
- De afmetingen moeten visueel worden gecontroleerd, wat resulteert in meetfouten, afhankelijk van de bediener.
Oplossingen voor coplanariteitsmetingen
Er is veel tijd en inspanning nodig voor het meten en inspecteren van de coplanariteit met gewone meetinstrumenten en microscopen. Een ander ernstig probleem van deze instrumenten zijn de variaties in de gemeten waarden. Het is ook moeilijk om geminiaturiseerde elektronische apparaten te meten met meetinstrumenten van het contacttype, en dergelijke instrumenten kunnen tijdens de meting zelfs de objecten beschadigen.
Om deze meetproblemen op te lossen, heeft KEYENCE de 3D Optical Profilometer VR Series ontwikkeld.
De VR-serie legt nauwkeurig de 3D-vorm van het volledige doeloppervlak vast zonder het aan te raken. De VR-serie vereist geen speciale opstelling of subjectieve beslissingen, waardoor nauwkeurige metingen door elke operator kunnen worden uitgevoerd. In dit gedeelte worden enkele specifieke voordelen van de VR-serie geïntroduceerd.
Voordeel 1: Snelle en eenvoudige meting van de vorm.
De VR-serie vereist alleen de eenvoudige stap van het plaatsen van het werkstuk op het platform. Vervolgens wordt het platform automatisch verplaatst om het object te positioneren en wordt de vorm ervan onmiddellijk gescand. Er treden geen variaties in de meetresultaten op, ongeacht welk deel van het object er wordt gemeten.
Omdat er geen geavanceerde bevestiging nodig is, kan de VR-serie de coplanariteit en het profiel van meerdere pinnen, kabels en soldeerballen in één enkele meting meten, waardoor de meettijd aanzienlijk wordt verkort.

Voordeel 2: Visualisatie van de 3D-vormen
De VR-serie scant de 3D-vorm van het volledige object en creëert een 3D-model dat gemakkelijk te begrijpen is.
Het legt bijvoorbeeld hoogteverschillen vast die worden veroorzaakt door buigingen of hellingen tussen grote aantallen pinnen en kabels die naast elkaar zijn geplaatst in een enkele meting, en geeft deze verschillen weer in een 3D-beeld met verschillende kleuren. Dit voordeel stelt gebruikers in staat om specifiek te begrijpen welke onderdelen op het object de toleranties overschrijden en welke vormen er problemen veroorzaken, waardoor de oorzaken van de defecten kunnen worden geïdentificeerd en een herhaling ervan kan worden voorkomen. Met behulp van deze gegevensafbeeldingen kunnen gebruikers ook gemakkelijk te begrijpen rapporten maken en informatie delen met andere afdelingen.

Samenvatting: Dramatische verbetering en hogere efficiëntie voor coplanariteitsmetingen
Met de VR-serie kan de 3D-vorm van het volledige object onmiddellijk worden gemeten door contactloos te scannen. Naast het oplossen van de problemen van conventionele metingen, kan de VR-serie de werkefficiëntie bij het meten van de coplanariteit van elektronische componenten drastisch verbeteren.
- De contactloze meting oefent geen meetdruk uit op gevoelige elektronische componenten en er is dus geen risico op beschadiging van het meetobject.
- Plaats het object gewoon op het platform en de VR-serie voert automatisch positioneringsaanpassingen uit vóór de meting. Dit elimineert variaties in de meetwaarden en maakt een snelle inspectie mogelijk.
- De coplanariteit van grote aantallen naast elkaar geplaatste pinnen, kabels en soldeerballen kan onmiddellijk worden gemeten.
- De 3D-gegevens kunnen worden gevisualiseerd met een hoogtekleurenkaart, waardoor er rapporten kunnen worden gemaakt die de problemen en defecten duidelijk communiceren.
De VR-serie lost de problemen op bij het conventioneel meten van elektronische componenten en meet het volledige oppervlak van het object in een oogwenk. Het kan de huidige behoefte aan kleinere en dichtere elektronische componenten ondersteunen, terwijl het ook de werkefficiëntie aanzienlijk verbetert tijdens het meten en het maken van rapporten.


