LED-Beleuchtung Bildverarbeitungszubehör Modellreihe CA-D

Flachwinkelleuchten Gegenüber angebrachte LEDs mit flachen Einfallwinkel, für Beleuchtung mit flachem Einstrahlwinkel
CA-DLR

Anwendung
Abplatzer an Oberfläche/Kante
In der Regel sind Mängel an Oberflächen und Kanten mit herkömmlicher Beleuchtung kaum zu erkennen, da kaum Kontrastunterschiede vorliegen. Die Flachwinkelleuchte hebt die physikalische Änderung auf dem Prüfobjekt hervor und ermöglicht deren Erkennung.

Beleuchtungstechniken für Flachwinkelleuchten
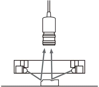
Flachwinkelleuchten strahlen direktes Licht unter einem flachen Winkel auf das Prüfobjekt. In der Regel sind Qualitätskontrollen der Kante eines Prüfobjekts oder die Erkennung von physikalischen Mängeln auf der Oberfläche mit herkömmlicher Beleuchtung kaum möglich. Da die Richtung des Lichts bei der Flachwinkelleuchte fast parallel zur Oberfläche verläuft, führen etwaige Höhenabweichungen zu Ablenkungen gegenüber dem normalen Weg des Lichts zur Kamera, sodass deren jeweilige Änderung hervorgehoben wird.
Anordnung von Kamera/Beleuchtung

Anwendung
Abgeplatzte Kante
Bei Standardbeleuchtung

Mit Flachwinkelleuchte

Ungleichmäßiger Abgeplatzte Kante Flaschenrand
Bei Standardbeleuchtung

Mit Flachwinkelleuchte

