LED Lighting Vision System Peripheral Equipment CA-D Series

Low Angle LightsOpposing LED’s with shallow incidence alignment to provide low angle illumination
CA-DLR

Application
Surface/edge chip
Typically, surface and edge defects are hard to detect with standard lighting as there is little contrast change. The low angle light highlights the physical change in the target making detection possible.

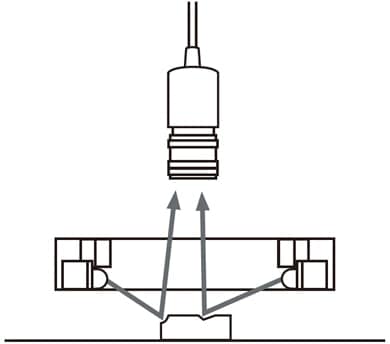
Low angle light illumination techniques
Low angle lighting provides direct light at a shallow alignment onto the target. Typically inspection of the edge of a target or physical flaws on the surface are hard to detect with standard direct lighting. As the direction of the light is almost parallel to the surface any change in surface height deflects the normal path of light to the camera, subsequently highlighting the change.
Camera/light arrangement

Application
Chipped edge
With standard lighting

With low angle illumination

Non-uniform bottle lip
With standard lighting

With low angle illumination

